厦门地产情报站
关注
每日及时推送厦门人居楼市、新闻资讯、市场动态、为购房者提供服务和参考!
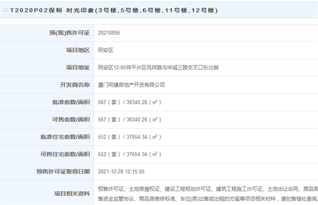
T2020P02保利·时光印象(3号楼,5号楼,6号楼,11号楼,12号楼)获批预售,项目位于同安区12-05祥平片区凤祥路与华诚三路交叉口东北侧。此次获批预售567套,面积38340.26㎡;其中预售住宅552套,面积37654.34㎡。
价格方面,最低预售价格24806元/㎡,最高预售价格30019元/㎡,主力户型为60-83平米。
05月03日
03月30日
08月28日
08月08日


【扫一扫关注】


【扫一扫关注】


【扫一扫关注】
最新评论