今日头条
568套!最高预售价4.7万/㎡!集美、翔安两大楼盘领出预售证!
昨日,集美翔安两大项目568套住宅房源申领预售
J2020P01中旅海玥(1-1号、1-2号楼,5号楼,6-1号、6-2号楼,地下室)获批预售!
该项目位于集美区11-14环东海域新城片区滨海西大道与东安路交叉口西南侧,此次获批预售1261套,面积67986.86㎡;其中获批预售住宅456套,面积42039.32㎡。
价格方面,最低预售价38356元/㎡,最高预售47242元/㎡。
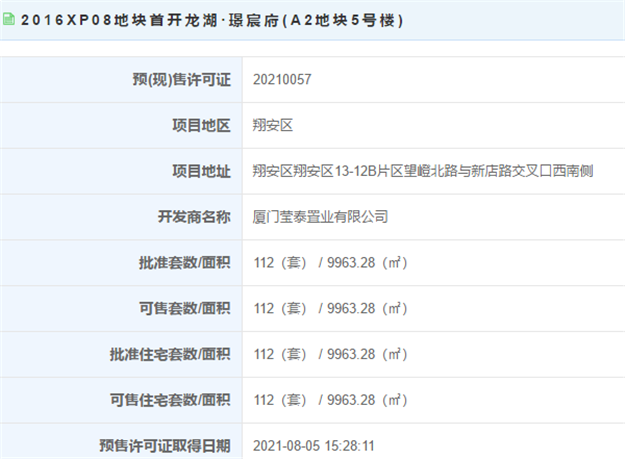
与中旅海玥同天取得项目预售许可证的还有首开龙湖璟宸府。
该项目位于翔安区13-12B片区望嶝北路与新店路交叉口西南侧,此次获批预售112套,面积9963.28㎡;其中获批预售住宅112套,面积9963.28㎡。
价格方面,最低预售价2.9万/㎡,最高预售3.29万/㎡。
本地新闻
1
厦门未来科技城计划2035年全面建成 核心区域位于环东海域新城
到2035年,厦门未来科技城将全面建成。省政府日前出台《促进高新技术产业开发区高质量发展实施方案》(以下简称《方案》)对厦门未来科技城的建设目标和时间表进行明确,并对全省科技城的建设布局提出意见。
根据《方案》,我市将依托厦门大学、嘉庚创新实验室、同安“三谷”等创新资源,打造宜居宜业宜创的厦门未来科技城。省政府计划到2025年基本建成厦门未来科技城,届时,科技城产业结构将明显优化,新业态和新经济不断涌现,高新技术企业数量和产业增加值实现“双倍增”,创新型企业群体不断壮大。省政府还计划把厦门未来科技城建设作为一项重要指标纳入自创区年度考核,对建设成效明显的科技城给予奖励1000万元。
厦门未来科技城核心区域位于环东海域新城,《方案》所说的“三谷”是位于同安区的美峰创谷、银城智谷和环东云谷三大产业园区,是我市践行“跨岛发展”战略的重要实践地。目前,环东海域新城已初步形成集信息研发、高端制造以及新经济、旅游度假和现代服务业“四位一体”的产业体系。依托“园区+平台”的招商载体,美峰创谷、银城智谷和环东云谷突出产业定位,各有侧重发力。今年上半年,环东海域新城完成新注册企业数2884家,累计注册资本169.58亿元。(厦门日报)
2
园博苑教育岛提升改造预计明年1月完工 将新建儿童乐园
在开满三角梅的木栈道漫步,在神秘又新奇的海滩市集“寻宝”,在五彩斑斓的彩虹丘陵登高……明年,市民朋友再来园博苑教育岛,将能体验这些新项目,尽享亲子快乐时光。昨日,记者从集美城市发展有限公司(以下简称“集美城发公司”)了解到,园博苑教育岛提升改造工程已经启动,届时将建设集美区最大型的儿童乐园。
园博苑教育岛也称“中华教育岛”,位于园博苑西北角位置,占地面积26.6公顷。本次教育岛提升改造工程项目总用地面积33936.617平方米,其中总建筑面积1185.35平方米。
目前,该项目已经开工,正处于桩基施工阶段。“本次项目核心是建设儿童乐园,规划有七大区域,设有近30项儿童游乐设施等。”集美城发公司代建一部贾小飞介绍,七大区域按主题分为三角梅栈道、泡泡鱼浅滩、龙舟溯流、知识之城、海滩市集、彩虹丘陵和太阳动力工厂。儿童游乐设施包含多人跷跷板、彩虹蹦床、亲子鸟巢秋千、旱喷水车等。项目计划明年1月完工。(海西晨报)
3
环东海域新城将新建24班规模初中!计划今年12月开工
近日,翔安区振南第二中学项目(勘察)招标。
项目位于环东海域东部新城起步区—新店地铁社区内,翔安西路西侧,东界路北侧,现状洪坑村南侧,新建24班初中1所,总用地面积约21520.537平方米,总建筑面积约29300平方米,其中,地上建筑面积约17300平方米(含架空层约2500平方米),地下建筑面积约12000平方米。主要建设内容包括:教学楼、综合楼、食堂体育馆、室外运动场及地下室等。
投资总额约19969.74万元,计划开工日期为2021年12月,建设周期约24个月。
楼市热点
1
上海:7月23日前完成新房认购和选房,贷款按照原政策执行
8月5日,上海市房地产交易中心发布公告称,7月23日,上海市调整了个人住房贷款利率。按工作实施方案,对7月23日之前(含7月23日)已完成一手住房认购且选定房源的购房人,申请个人住房贷款按照调整前的政策执行。
2
杭州:非户籍家庭社保满4年方可在限购范围内购买1套住房
8月5日,浙江省杭州市住房保障和房产管理局发布《关于进一步加强房地产市场调控的通知》,进一步加强对落户杭州未满5年户籍家庭和非杭州户籍家庭的住房限购,完善新建商品住房销售管理以及规范市场秩序。
《通知》提出,落户杭州市未满5年的户籍家庭,在购房之日前2年起已在杭州市限购范围内连续缴纳城镇社保满24个月,方可在杭州市限购范围内限购1套住房。非杭州户籍家庭,在购房之日前4年起已在杭州限购范围内连续缴纳城镇社保或个人所得税满48个月,方可在杭州限购范围内限购1套住房。
杭州住保房管局表示,落户临安区、建德市、桐庐县、淳安县未满5年的,须落户满2年且在购房之日前2年起已在杭州限购范围内连续缴纳城镇社保满24个月,方可在杭州限购范围内购买住房。
8月5日厦门二手住宅成交81套
2021年8月5日,厦门二手房成交共104套,成交面积9123㎡;其中二手住宅成交81套,成交面积7887㎡。
















闽公网安备 35020302035470号
最新评论