厦门地产情报站
关注
每日及时推送厦门人居楼市、新闻资讯、市场动态、为购房者提供服务和参考!
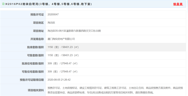
昨日,海投白鹭湾、融侨铂樾府两大项目获批预售!
海投白鹭湾位于海沧区05-08片区灌新路与新景西路交叉口东北侧,此次获批预售1150套,面积58401.23㎡,其中获批预售住宅309套,面积27948.47㎡。
其中,4#、#5、6#楼为平层,面积为79-89平方米户型;3#楼为复式,面积为126-103平方米户型。
价格方面,最低预售价格为32658元/平方米,最高预售价格为39798元/平方米。
融侨铂樾府位于翔安区13-15翔安新城片区新城中路与翔安西路交叉口东北侧A地块,此次获批预售住宅28套,面积3690.54㎡。产品为24套叠墅和4套平层,面积段为101-169平方米户型。
价格方面,最低预售价格为50151元/平方米,最高预售价格为69427元/平方米。
05月03日
03月30日
08月28日
08月08日


【扫一扫关注】


【扫一扫关注】


【扫一扫关注】
最新评论